壓蓋限位伸縮接頭是由松套伸縮接頭和兩個限位短管組合而成。
壓蓋限位伸縮接頭能防止管道因超量位移導致補償接頭的泄漏和損壞,壓蓋限位伸縮接頭主要用于在允許位移范圍內吸收軸向位移和緩解軸向壓力推力的管道松套連接。
壓蓋限位伸縮接頭的特點:壓蓋限位伸縮接頭伸縮量大,(10mm-25mm)安裝簡單方便,使用壽命長(使用壽命長達20年-30年)維修方便。
壓蓋限位伸縮接頭的連接方式:
壓蓋限位伸縮接頭管道兩邊以焊接的方式連接。
壓蓋式限位伸縮接頭的安裝方法:
壓蓋限位伸縮接頭兩邊均與管道焊接,壓蓋限位伸縮接頭在安裝時松開壓蓋螺母,調整至安裝長度后把兩端的短管與管道焊接,很后用對角法均勻擰緊螺母,調整好防脫螺母即可。上海駱盈專業生產伸縮器,進口好的原料與設備,頗負盛名的人才與技術,產品質量過硬符合~標準,產品的每一步都經過了嚴格的檢驗與檢測,專業致力管道行業三十年,質量值得您的信賴。上海駱盈管道設備有限公司期待與您合作.
【產品名稱】:BY(SSJB-2)型壓蓋式松套限位伸縮接頭(BY壓蓋松套限位補償接頭)
【產品別名】:法蘭式松套伸縮器SSJB-2型壓蓋松套限位伸縮接頭
【產品規格】:【DN32mm-DN4000mm】
【產品壓力】:0.6-2.5MPa
【產品】:
【適用范圍】:【弱酸、弱堿、弱腐蝕類、油、熱水、冷水等】
【產品材質】:碳鋼,球墨鑄鐵,不銹鋼.
【產品顏色】:藍色,可根據客戶要求調色.
【工作溫度】:-40度至80度
在線咨詢
購買熱線: 021-622-00727
BY(SSJB-2)壓蓋松套限位伸縮接頭功能介紹:它是由松套伸縮接頭和法蘭接頭等構件組成。能防止管道因超量位移導致補償接頭的泄漏和損壞。 BY(SSJB-2)壓蓋松套限位伸縮接頭的兩端由法蘭套管組成,大大提高了管道線路連接處的穩定性。主要用于在允許位移范圍內吸收軸向位移和承受軸向壓力推力的管道松套連接,加上本身具有良好的補償管道位移的特點還能實現降振減噪的功能,產品本身的優勢簡直是無可挑剔。
1伸縮量大、安裝簡單方便。
2結構獨特,性能穩定,使用壽命長(使用壽命長達10—30年)、維修方便。
3良好的補償管道位移的特點還能實現降振減噪的功能。
近日,中國能建沈陽機械公司承建的河北高昌南水北調配套輸水工程濾網項目實現通水。
由于該項目的成功與否關系到保定市居民飲用水和日常生活用水及工業生產用水的重大民生問題,沈陽機械公司全體干部職工團結協作,精心組織設計、采購和生產部門交叉作業、合理調配、加班加點、不辭勞苦,從合同正式簽訂到交貨僅歷時30天,于2015年12月31日順利將兩臺板框式旋轉濾網,按南水北調辦公室要求運抵河北高昌南水北調工程使用現場。2016年元旦期間,成功將設備一次安裝調試完成,并于1月25日順利完成試運行并實現系統通水,創造了沈陽機械公司又一項進度里程碑,并解決了保定市亟待解決的重大民生問題,為沈陽機械公司在南水北調工程后續市場開發和非電市場開拓奠定了堅實基礎。
上海駱盈作為此次的BY(SSJB-2)壓蓋松套限位伸縮接頭產品的主要供應商,將全心全意地做好管道配件的供應工作,并嚴格要求自身產品的質量,確保該項目使用了本公司的產品之后能夠對于整個項目管線起到保障作用。專業生產BY(SSJB-2)壓蓋松套限位伸縮接頭三十年,產品質量值得您的信賴。

請點擊圖片看大圖
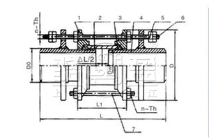
| 序號No | 名稱Name | 數量Quantity | 材料Material | 
| 1 | 本體Body | 1 | QT400-15,Q235A,ZG230-450,20 | 
| 2 | 密封圈Gasket | 1 | NBR | 
| 3 | 壓蓋Follower | 2 | Q235A,16Mn,20 | 
| 4 | 限位短管 | 2 | Q235A,20,16Mn | 
| 5 | 螺柱bolt | n | Q235A,35,1Cr8Ni9Ti | 
| 6 | 螺母Nut | 5n | Q235A,20,1Cr8Ni9Ti | 
請點擊圖片看大圖
            專業制造、專業服務,駱盈為你創造更多價值 !
       不斷提升服務質量,精益求精,“真誠的服務”是駱盈永恒的主題。駱盈嚴格按照  要求,質量嚴格把關,責任到人,確保生產、銷售、服務的健康運行。加強與用戶溝通,竭誠為廣大客戶提供優質產品,至善至美服務,特此駱盈做出如下承諾:
產品標準
      產品嚴格按照中國 GB、HG 標準和美國 API 等標準設計、制造、驗收。密封面硬度達到規定要求,寬度超過標準。
    
售前服務
      產品介紹,技術交流,非標產品設計,疑難解答。
  
售中服務
       1、守信合同,保證及時供貨,隨時保持與客戶聯系
       2、對特殊或復雜的產品,我廠安排技術人員對用戶進行產品使用、故障排除、調式及維修進行培訓和指導。
  
售后服務
      1、駱盈產品質保期為自出廠起 12 個月,實行“三包”服務(包退、包換、包修)。 
      2、產品在使用中我廠定期組織技術、檢查人員進行訪問,征詢用戶對產品質量、使用狀況、改進意見等方面的反饋,以便進一步提高產品質量。
      3、對用戶投訴產品質量問題,快速做出反映,售后服務人員在 24-36 小時(省外 48 小時)趕赴現場。
      4、對售后服務,要求用戶填寫服務后的質量反饋表,并做出鑒定意見,共同提高駱盈的產品質量與服務質量。
          
1、客戶采購清單請傳真至 021-64207088 E-mail:luoying@luoyingsh.com,或來電咨詢 021-62212627。
      2、收到客戶采購清單,為客戶提供產品型號選型與報價(價格清單)。
      3、具體商定:交貨期、特殊要求等事宜。
訂貨須知
      1、客戶對產品有特殊要求,須在訂貨合同中提供以下說明:
        (1)結構長度
        (2)連接形式
        (3)公稱直徑、全通徑、縮徑、管道尺寸
        (4)用介質及溫度、壓力范圍
        (5)實驗、檢驗標準及其他要求本廠可根據客戶特殊要求配置定做和設計特殊產品。
      2、本廠可根據客戶特殊要求配置定做和設計特殊產品。
      3、如由客戶提供確定的產品類型和型號時,客戶應正確說明其型號的含義和要求,在供需雙方理解一致的條件下簽訂合同。
您也可以聯系在線客服